2026广东艺术类省统考报名开启


2026年广东高考报名流程

2026年广东高考报名关键时间点:

①系统注册和高考报名:

2025年11月1—10日

②高考确认报名:

11月6—10日

③高考体检:

2025年11月10-2026年2月1日


高考报名基本流程:

步骤一:进入【高考报名系统】后,点击【注册】即可进入考生信息注册页面。


图片

步骤二:注册后,凭证件号和密码登录。登录前需要阅读广东2026年高考考生报名须知并选择【同意】,方可进入高考报名系统进行网上报名。

图片


步骤三:考生如实填写个人基本信息,包括政治面貌、考生属性、毕业学校等。艺术类、体育类考生要注意选择正确的考生属性!



图片

图片


步骤四:填写联系方式。手机号码要填注册时绑定的手机号码,该号码除了用于高考报名以外,还将用于接收高考成绩、填报志愿验证码、录取结果等各种信息。



图片

步骤五:按要求填写填写个人简历和家庭关系。

图片


步骤六:填写报考科目,这一步对于艺术生而言至关重要!需要选择对应的【术科统考科目】,勾选音乐、舞蹈、美术、书法、表(导)演、播音类的任何一项以此报名参加省统考!



图片


步骤七:根据今年最新的系统提示,查看是否要上传资料,按实际情况操作!



图片

步骤八:资料提交完成后,会弹出考生信息状态栏,上面会提醒考生各种填报状态,包括缴费、相片采集等,如果基本信息有错的话,可点击头像下方【基本信息修改】进入修改。

步骤九:网上交费,交报名费是预报名非常重要的一步。点击【网上交费】,即可进入交费页面。


图片


网上报名完成之后,

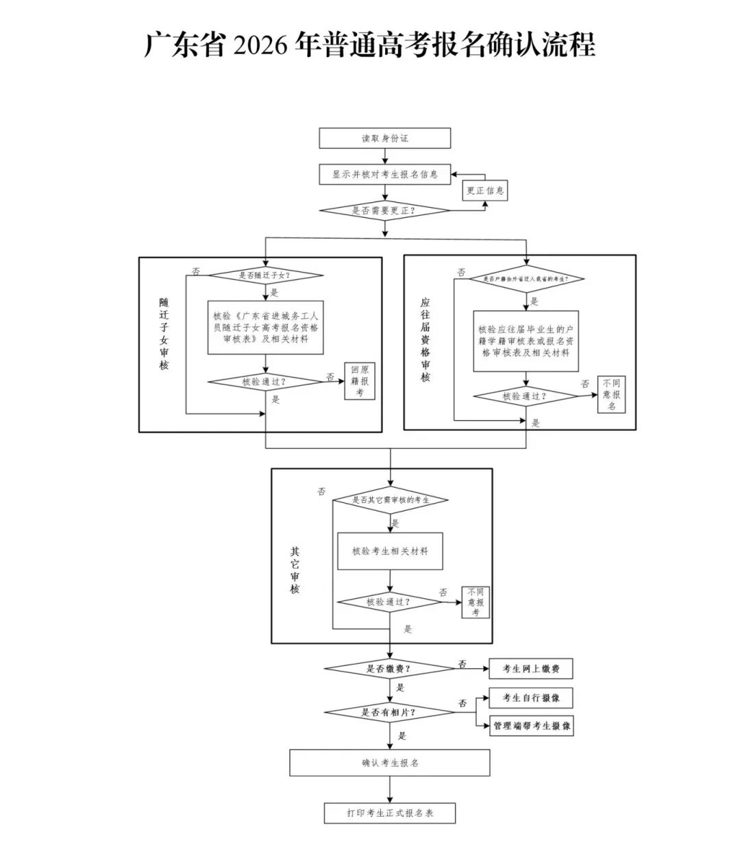
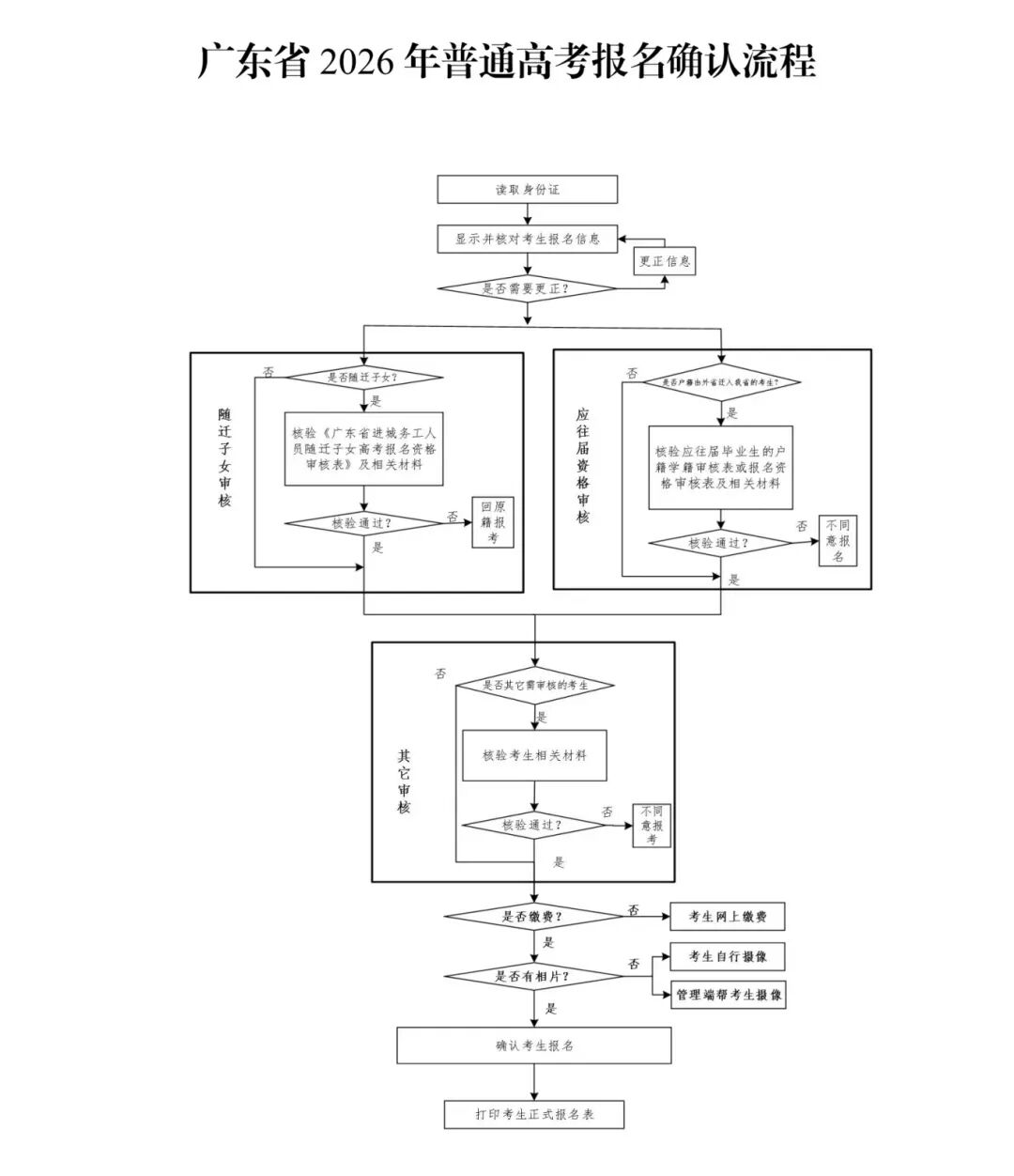
别忘了11月6-10日期间

还要确认报名噢!


图片

图片

咨询评论

  • img
    老师25年集训最早的什么时候开始啊
    2025-03-01 21:36:00 回复

    准备考服表专业,身高173cm。请老师联系我预约个测评~

  • img
    创始人
    2025-03-01 21:45:35 回复
    已通知招生老师,课程的话你在北京的话可以先参加咱们的周末预科班,然后暑期或者考前来统一集训一段即可。
  • img
    顽皮嗨
    2023-02-11 17:30:01 回复

    好想念一起学习的同学们,暑假想回去看看吴老师~~

  • img
    创始人
    2023-03-07 20:34:47 回复

    你是那届的呢,没事儿可以回咱们顺义校区看看哦~~

  • img
    二丫en
    2023-03-07 20:23:12 回复

    老师请问你们暑期班多少人一班呢

  • img
    创始人
    2023-03-07 20:29:45 回复

    您好,同学,每班暂定10人,最多不超过15人,可以留下您的联系方式,招生老师会详细介绍规划~

咨询课程